| k, мм | 1,20 | 1,50 | 1,65 | 2,20 | 2,50 | 3,00 | 4,00 | 5,00 |
| dk, мм | 3,8 | 4,7 | 5,6 | 7,5 | 9,2 | 11 | 14,5 | 18 |
| шаг резьбы | 0,40 | 0,45 | 0,50 | 0,70 | 0,80 | 1,00 | 1,25 | 1,50 |
| l/d, мм | М2 | М2,5 | М3 | М4 | М5 | М6 | М8 | М10 |
| 3 | М2×3 | |||||||
| 4 | М2×4 | М2,5×4 | М3×4 | |||||
| 5 | М2×5 | М2,5×5 | М3×5 | М4×5 | ||||
| 6 | М2×6 | М2,5×6 | М3×6 | М4×6 | М5×6 | |||
| 8 | М2×8 | М2,5×8 | М3×8 | М4×8 | М5×8 | М6×8 | ||
| 10 | М2×10 | М2,5×10 | М3×10 | М4×10 | М5×10 | М6×10 | ||
| 12 | М2×12 | М2,5×12 | М3×12 | М4×12 | М5×12 | М6×12 | М8×12 | |
| 14 | М2×14 | М2,5×14 | М3×14 | М4×14 | М5×14 | М6×14 | ||
| 16 | М2×16 | М2,5×16 | М3×16 | М4×16 | М5×16 | М6×16 | М8×16 | М10×16 |
| 18 | М2×18 | М2,5×18 | М3×18 | М4×18 | М5×18 | М6×18 | ||
| 20 | М2×20 | М2,5×20 | М3×20 | М4×20 | М5×20 | М6×20 | М8×20 | М10×20 |
| 22 | М3×22 | М4×22 | М5×22 | М6×22 | ||||
| 25 | М2×25 | М2,5×25 | М3×25 | М4×25 | М5×25 | М6×25 | М8×25 | М10×25 |
| 28 | М3×28 | М4×28 | М5×28 | М6×28 | ||||
| 30 | М2×30 | М2,5×30 | М3×30 | М4×30 | М5×30 | М6×30 | М8×30 | М10×30 |
| 35 | М3×35 | М4×35 | М5×35 | М6×35 | М8×35 | М10×35 | ||
| 40 | М3×40 | М4×40 | М5×40 | М6×40 | М8×40 | М10×40 | ||
| 45 | М3×45 | М4×45 | М5×45 | М6×45 | М8×45 | М10×45 | ||
| 50 | М3×50 | М4×50 | М5×50 | М6×50 | М8×50 | М10×50 | ||
| 55 | М4×55 | М5×55 | М6×55 | М10×55 | ||||
| 60 | М4×60 | М5×60 | М6×60 | М8×60 | М10×60 | |||
| 65 | М4×65 | М5×65 | М6×65 | |||||
| 70 | М4×70 | М5×70 | М6×70 | М8×70 | М10×70 | |||
| 75 | М4×75 | М5×75 | М6×75 | |||||
| 80 | М4×80 | М5×80 | М6×80 | М8×80 | ||||
| 90 | М5×90 | М6×90 | М8×90 | |||||
| 95 | М5×95 | М6×95 | ||||||
| 100 | М5×100 | М6×100 | М8×100 | М10×100 |
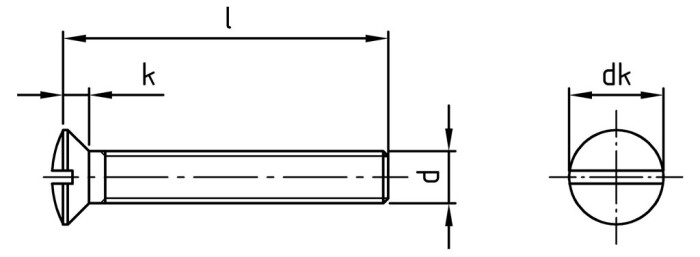
- Наименование по стандарту: Винт с полупотайной головкой.
- Стандарт: DIN 964.
- Аналоги: ISO 2010, ГОСТ 17474-80.
- Материал: нержавеющая сталь A2 (A4 – под заказ).
- Форма головки: полупотайная.
- Тип резьбы: полная.
- Шлиц: прямой (SL).
- Назначение: соединение с частичным утоплением головки.
- Область применения: строительство, приборостроение, мебельное производство.
- Конструктивные особенности: полупотайная головка, комбинированная форма, аккуратный выступ над материалом, шаг резьбы оптимизирован для тонких листов.
Винт DIN 964 используется там, где нельзя делать глубокую зенковку, например, с тонкими листами металла или пластиком. Полупотайная головка обеспечивает аккуратный внешний вид и снижает риск ослабления материала.
Винт подходит для корпусных деталей, декоративных панелей и металлических конструкций, совместно с гайками, шайбами и резьбовыми заклёпками-гайками.
Сталь A2 обеспечивает устойчивость к влаге и умеренной коррозии. Рекомендуется контролировать позиционирование инструмента при монтаже, чтобы шлиц не соскальзывал.
Полупотайный DIN 964 — промежуточный вариант между полностью утопленным и выступающим крепежом, удобен при работе с корпусными элементами и декоративными панелями.
Доставка
Доставка по Минску
Бесплатно при заказе от 150 рублей.
Срок: 12–48 часов с момента оплаты.
Доставка по Беларуси
Бесплатно при заказе от 250 рублей.
Срок: 24–72 часа с момента оплаты.
Оплата
Работаем с физическими и юридическими лицами.
Способы оплаты:
- Безналичный расчет (оплата по счету для юр. лиц)
- Наличными или банковской картой
- Онлайн-оплата банковской картой
- Оплата через сервис «Оплати»
Реквизиты для оплаты:
ООО «Ивалис Креп»
УНП: 192626813
Юридический адрес: 220116, г. Минск, пр-т Дзержинского, д. 69, корп. 2, оф. 116, комн. 1
Телефон: 251-66-64
Расчетный счет: BY96BLBB30120192626813001001
ОАО «Белинвестбанк»
ЦБУ №527, г. Минск, ул. Карла Маркса, 33-4Н
БИК: BLBBBY2X
Директор: Кучинский Дмитрий Викторович
(действует на основании Устава)




